"Белрафт 4ТТ" (Габариты: 550х230см, V=2600л)

«БЕЛРАФТ–4ТТ» — четырехместный спортивно - туристический катамаран повышенной грузоподъемности и устойчивости, предназначен для сплава по многоводным рекам 4-6 к.с.
Гондолы катамарана – однослойные баллоны с внутренними страховочными баллонами (750л).
Надувные сиденья – двухслойные, приклеены к палубе и имеют бедренные и коленные упоры.
Дюралевая рама катамарана имеет форму трапеции и крепится к гондолам с помощью карманов, карманы защищены от ударов о камни дополнительным слоем ткани PVC.
Однослойные баллоны изготавливаются из ткани: дно - boat PVC двойная ПАНАМА 1450гр, бок - boat PVC ПАНАМА 12500гр, верх - boat PVC 750-850гр, страховочные баллоны - .boat PVC 400гр.
Швы – сварные, с двухсторонней герметизацией.
Рама изготавливается из дюралевых труб марки Д16Т не слабее Ø 40х2мм.
На поперечных трубах рамы жёстко закреплены ударопрочные пластиковые кницы. Кницы имеют нержавеющие стальные штырьки Ø6мм. Окончания продольных и поперечных труб защищены от ударов о камни ударопрочными пластиковыми заглушками.
Технические данные
Длина | 550 см |
Ширина | 230 см |
Макс. диаметр баллонов | 68 см |
Объем баллонов (без учёта объёма надувных сидений)
|
2600 л |
Грузоподъемность | 850 кг |
Вес моно баллонов с надувными сидениями | кг |
Экипаж: - 4 человека
|
Коплектномсть
|
Гондолы катамарана:
|
|
1.1
|
Однослойные (моно) баллоны с внутренними страховочными баллонами.
|
2 шт.
|
1.50
|
Воздухонепроницаемый внутренний баллон сиденья, 51х89 см
|
4 шт.
|
5.10
|
Плоский ремень 38 мм с петлёй для крепления бедренных упоров к раме
|
8 шт.
|
3.3
|
Съёмные люверсы с петлёй для удобства крепления груза на палубе
|
8 шт.
|
2.2
|
Плоская капроновая лента10мм для боковой страховочной обвязки
|
25 м.
|
|
Ремонтный набор (ткань Boat PVC, клапан, …)
|
набор
|
|
Руководство по эксплуатации
|
1 шт.
|
Сумка с ручками для баллонов
|
2 шт.
|
|
Тубус с наплечным ремнём для рамы
|
1 шт.
|
|
|
|
|
|
Рама катамарана:
|
|
6.0
|
Труба продольная, разборная, Д16Т Ø 40х2 мм, L=3300 мм
|
4 шт.
|
6.1
|
Труба поперечная, разборная, Д16Т Ø 40х2 мм, L=2180 мм
|
1 шт.
|
6.2
|
Труба поперечная, разборная, Д16Т Ø 40х2 мм, L=2210 мм
|
1 шт.
|
6.3
|
Труба поперечная, разборная, Д16Т Ø 40х2 мм, L=2240 мм
|
1 шт.
|
6.4.
|
Труба поперечная, разборная, Д16Т Ø 40х2 мм , L=2270 мм
|
1 шт.
|
6.5.
|
Труба поперечная, разборная, Д16Т Ø 40х2 мм, L=2300 мм
|
1 шт.
|
6.6.
|
Выжимная труба палубы, разборная Д16т Ø 25х1,5мм, L=2840 мм
|
2 шт.
|
6.11
|
Кольцо капроновое силовое для сборки рамы
|
20 шт.
|
6.12
|
«Скрутка» для сборки рамы, пруток Д16Т Ø 10 мм, L=180 мм
|
20 шт.
|
6.13.
|
Фиксатор «скрутки»
|
20 шт.
|
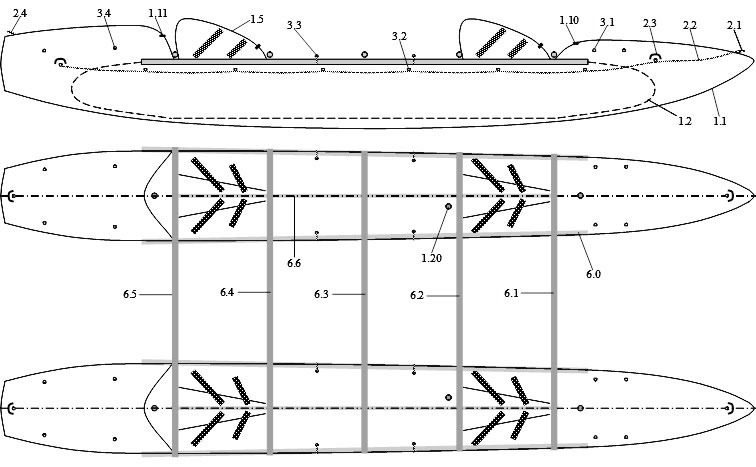
Устройство катамарана

Рисунок 1
Гондолы катамарана: 1.1. Гондола катамарана. 1.2. Страховочный внутренний баллон (объём 750л.). 1.10.Клапан надува гондолы катамарана. 1.11. Стравливающий страховочный клапан гондолы. 1.20. Клапан надува страховочного внутреннего баллона. 1.5. Надувное сидение с бедренными и коленными упорами.
Вспомогательные элементы: 2.1. Носовая ручка с люверсом для удобства чалки катамарана. 2.2.Страховочная обвязка по каждому борту. 2.3. Боковая ручка с люверсом для переноски катамарана, на каждом борту по 2 ручки. 2.4. Кормовая ручка с металлическим люверсом. 3.1. Металлические люверсы для крепления личных вещей. 3.2. Металлические люверсы для крепления страховочной обвязки по каждому борту. 3.3. Съёмные люверсы для удобства крепления груза на палубе. 3.4. Металлические люверсы для крепления дополнительного груза на корме.
Рама катамарана: 6.0. Продольная труба рамы. 6.1.6.2.6.3.6.4.6,5. Поперечные трубы рамы с закреплёнными кницами. 6.6. Выжимные трубы палубы.
Рисунок 2 Рама катамарана

Надувное сидение

Рисунок 3
1. Гондола катамарана. 1.5. Сиденье надувное. 5.0. Самозакрывающийся клапан для заправки внутреннего баллона в силовую оболочку сидения. 5.1. Бедренные упоры с двойной металлической пряжкой. 5.10. Плоский ремень с петлей для крепления бедренных упоров к продольной трубе рамы. 5.11. Перемычка капроновая у основания бедренных упоров. 5.2. Коленные упоры. 5.20. Трапеция с двойной металлической пряжкой для крепления коленных упоров. 6.0. Продольная труба рамы. 6.3. Поперечная труба рамы с закреплёнными кницами. 6.30. Кница с стальным штырьком (закреплена на поперечной трубе). 6.11. Соединение боковой и поперечной труб капроновым силовым кольцом. 6.12. Дюралевый пруток – «скрутка». 6.13. Фиксатор «скрутки».
Гарантийные обязательства.
Изготовитель, Индивидуальный Предприниматель Новиков Александр Иванович, свидетельство №190280437, от 26.09.2001г. г. Минск, Республика Беларусь, гарантирует безотказную работу катамарана в течение 24 месяцев со дня продажи потребителю и не несет ответственности за дефекты, возникшие в результате неправильного хранения, эксплуатации, чрезмерных нагрузок или использовании катамарана не по назначению.
Сравнить "Белрафт-4ТТ" с другими катамаранами можно ЗДЕСЬ.